Disegno Da Colorare Fisarmonica Disegni Da Colorare E Stampare Gratis Imm 9579

Disegno Da Colorare Fisarmonica Disegni Da Colorare E Stampare Gratis Imm 9579

Disegno Fisarmonica Misti Da Colorare

Disegno Fisarmonica Misti Da Colorare

Fisarmonica Da Colorare Strumenti Musicali Musica Primaria Lezioni Di Musica

Fisarmonica Da Colorare Strumenti Musicali Musica Primaria Lezioni Di Musica

Fisarmonica Vettore Disegno White Canstock

Fisarmonica Vettore Disegno White Canstock

Disegno Fisarmonica Colorato Da Utente Non Registrato Il 27 Di Marzo Del 2010

Disegno Fisarmonica Colorato Da Utente Non Registrato Il 27 Di Marzo Del 2010

Fisarmonica Di Disegno A Tratteggio Strumento Musicale Chiave In Bianco E Nero Strumento Classico Disegno Fisarmonica Di Disegno A Tratteggio Strumento Classico File Png E Psd Per Download Gratuito

Fisarmonica Di Disegno A Tratteggio Strumento Musicale Chiave In Bianco E Nero Strumento Classico Disegno Fisarmonica Di Disegno A Tratteggio Strumento Classico File Png E Psd Per Download Gratuito

Fisarmonica Di Disegno A Tratteggio Strumento Musicale Chiave In Bianco E Nero Strumento Classico Disegno Fisarmonica Di Disegno A Tratteggio Strumento Classico File Png E Psd Per Download Gratuito

Carta Da Parati Vector Sketch Fisarmonica Pixers Viviamo Per Il Cambiamento Disegni Musica Tatuaggi Musica Carta Da Parati

Carta Da Parati Vector Sketch Fisarmonica Pixers Viviamo Per Il Cambiamento Disegni Musica Tatuaggi Musica Carta Da Parati

Classico Fisarmonica Canstock

Classico Fisarmonica Canstock

Fisarmonica Disegni Da Colorare Ultra Coloring Pages

Fisarmonica Disegni Da Colorare Ultra Coloring Pages

Disegno Di Fisarmonica Da Colorare Acolore Com

Disegno Di Fisarmonica Da Colorare Acolore Com

Disegno Di Fisarmonica Cromatica Da Colorare Disegni Da Colorare Gratis

Disegno Di Fisarmonica Cromatica Da Colorare Disegni Da Colorare Gratis

Fisarmonica Disegno Di Uno Strumento Musicale Immagini Vettoriali Stock E Altre Immagini Di Arte Cultura E Spettacolo Istock

Fisarmonica Disegno Di Uno Strumento Musicale Immagini Vettoriali Stock E Altre Immagini Di Arte Cultura E Spettacolo Istock

Dibujo De Acordeon A Piano Para Colorear Disegni Da Colorare Fisarmonica Free Transparent Png Download Pngkey

Dibujo De Acordeon A Piano Para Colorear Disegni Da Colorare Fisarmonica Free Transparent Png Download Pngkey

Disegni Da Colorare Categoria Strumenti Musicali Immagine Fisarmonica Infanziaweb

Disegni Da Colorare Categoria Strumenti Musicali Immagine Fisarmonica Infanziaweb

Fisarmonica Icona Contorno Stile Disegno K41599243 Fotosearch

Fisarmonica Icona Contorno Stile Disegno K41599243 Fotosearch

Arte Retro Fisarmonica Grunge Fisarmonica Vendemmia Illustrazione Mano Acquarello Fondo Strumento Musica Canstock

Arte Retro Fisarmonica Grunge Fisarmonica Vendemmia Illustrazione Mano Acquarello Fondo Strumento Musica Canstock

Immagine Fisarmonica Disegni Da Stampare Gratis Imm 23045

Immagine Fisarmonica Disegni Da Stampare Gratis Imm 23045

Disegno Della Fisarmonica Foto Stock Alamy

Disegno Della Fisarmonica Foto Stock Alamy

14 X 10 Cm Di Auguri Linea Disegno A Fisarmonica Amazon It Casa E Cucina

14 X 10 Cm Di Auguri Linea Disegno A Fisarmonica Amazon It Casa E Cucina

Disegno Fisarmonica Colorato Da Utente Non Registrato Il 30 Di Agosto Del 2018

Disegno Fisarmonica Colorato Da Utente Non Registrato Il 30 Di Agosto Del 2018

Disegno A Tratteggio Continuo Della Fisarmonica Del Classico Di Vettore Armonica D Annata Dello Strumento Musicale Simbolo Musica Illustrazione Vettoriale Illustrazione Di Profilo Acustico 117731496

Disegno A Tratteggio Continuo Della Fisarmonica Del Classico Di Vettore Armonica D Annata Dello Strumento Musicale Simbolo Musica Illustrazione Vettoriale Illustrazione Di Profilo Acustico 117731496

Fisarmonica Nuovo Disegno Musica Distintivo Spilla Smaltata Amazon It Casa E Cucina

Fisarmonica Nuovo Disegno Musica Distintivo Spilla Smaltata Amazon It Casa E Cucina

Fisarmonica Da Colorare E Stampare

Fisarmonica Da Colorare E Stampare

Fisarmonica Disegni Da Colorare Ultra Coloring Pages

Fisarmonica Disegni Da Colorare Ultra Coloring Pages

Https Encrypted Tbn0 Gstatic Com Images Q Tbn And9gcqad6ouhivywpznqaqu U4xavvsllvtjnhb Mwkfg Dgwf9vfi Usqp Cau

Https Encrypted Tbn0 Gstatic Com Images Q Tbn And9gcqad6ouhivywpznqaqu U4xavvsllvtjnhb Mwkfg Dgwf9vfi Usqp Cau

Rosso Fisarmonica Disegno Mano Classico Canstock

Rosso Fisarmonica Disegno Mano Classico Canstock

Colorare Puffi Disegno Fisarmonica E Musica

Colorare Puffi Disegno Fisarmonica E Musica

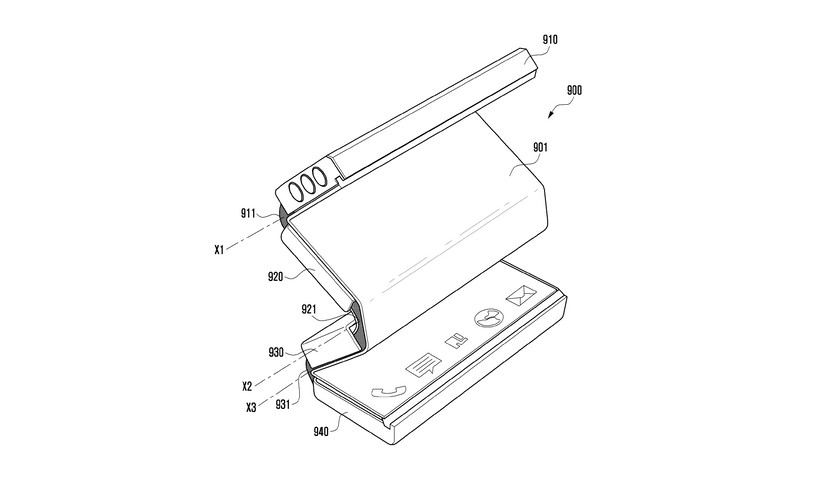
Samsung Brevetta Uno Smartphone Con Design A Fisarmonica E Batteria Pieghevole Hdblog It

Samsung Brevetta Uno Smartphone Con Design A Fisarmonica E Batteria Pieghevole Hdblog It

Fisarmonica Disegni Da Colorare Ultra Coloring Pages

Fisarmonica Disegni Da Colorare Ultra Coloring Pages

Premio Internazionale Della Fisarmonica Di Castelfidardo Matilde La Piccola Vincitrice Del Concorso Di Disegno

Premio Internazionale Della Fisarmonica Di Castelfidardo Matilde La Piccola Vincitrice Del Concorso Di Disegno

Fisarmonica Icona Cartone Animato Stile Disegno K39871402 Fotosearch

Fisarmonica Icona Cartone Animato Stile Disegno K39871402 Fotosearch

Carta Da Parati Donna Con Una Fisarmonica E Un Giovane Disegno A Mano Pixers Viviamo Per Il Cambiamento

Carta Da Parati Donna Con Una Fisarmonica E Un Giovane Disegno A Mano Pixers Viviamo Per Il Cambiamento

Lettore Di Fisarmonica Disegno Artista Gerhard Kraus Kriftel Foto Stock Alamy

Lettore Di Fisarmonica Disegno Artista Gerhard Kraus Kriftel Foto Stock Alamy

Grafica Vettoriale Clipart Concertina Fisarmonica Disegno Fisarmonica Scaricare Png Disegno Png Trasparente Fisarmonica Png Scaricare

Grafica Vettoriale Clipart Concertina Fisarmonica Disegno Fisarmonica Scaricare Png Disegno Png Trasparente Fisarmonica Png Scaricare

Premio Internazionale Della Fisarmonica Di Castelfidardo Matilde La Piccola Vincitrice Del Concorso Di Disegno

Premio Internazionale Della Fisarmonica Di Castelfidardo Matilde La Piccola Vincitrice Del Concorso Di Disegno

Easyphpalbum 1 3 9

Easyphpalbum 1 3 9

Disegno Di Un Fisarmonica Da Colorare Acolore Com

Disegno Di Un Fisarmonica Da Colorare Acolore Com

Disegno Fisarmonica Isolato Sagoma Vettore Grafico Disegno Illustrazione Fisarmonica Isolato Sagoma Vettore Canstock

Disegno Fisarmonica Isolato Sagoma Vettore Grafico Disegno Illustrazione Fisarmonica Isolato Sagoma Vettore Canstock

Carta Da Parati Donna Con Una Fisarmonica Disegni A Mano Pixers Viviamo Per Il Cambiamento

Carta Da Parati Donna Con Una Fisarmonica Disegni A Mano Pixers Viviamo Per Il Cambiamento

Fisarmonica Accademia Musicale Giovanni E Sergio Martinelli Aps

Fisarmonica Accademia Musicale Giovanni E Sergio Martinelli Aps

Illustrazione Vettoriale Di Fisarmonica Scarica Immagini Vettoriali Gratis Grafica Vettoriale E Disegno Modelli

Illustrazione Vettoriale Di Fisarmonica Scarica Immagini Vettoriali Gratis Grafica Vettoriale E Disegno Modelli

La Fisarmonica Per Bambini Musica Per Bambini Laboratori Musicali

La Fisarmonica Per Bambini Musica Per Bambini Laboratori Musicali

Fisarmonica Disegni Da Colorare Ultra Coloring Pages

Fisarmonica Disegni Da Colorare Ultra Coloring Pages

Hohner Bravo Iii 72 Fisarmonica Per Pianoforte Hohner Bravo Iii 72 Fisarmonica Per Pianoforte Virtu Tradizionali Scaricare Png Disegno Png Trasparente Fisarmonica Png Scaricare

Hohner Bravo Iii 72 Fisarmonica Per Pianoforte Hohner Bravo Iii 72 Fisarmonica Per Pianoforte Virtu Tradizionali Scaricare Png Disegno Png Trasparente Fisarmonica Png Scaricare

Disegno Dell Illustrazione Di Vettore Della Fisarmonica Di Due Fila Illustrazione Vettoriale Illustrazione Di Fisarmonica Stilizzato 125407163

Disegno Dell Illustrazione Di Vettore Della Fisarmonica Di Due Fila Illustrazione Vettoriale Illustrazione Di Fisarmonica Stilizzato 125407163

Puzzle Di Fisarmonica Disegno E Rompicapo Da Stampare

Puzzle Di Fisarmonica Disegno E Rompicapo Da Stampare

Illustrazione Vettoriale Di Strumenti Musicali Fisarmonica Scarica Immagini Vettoriali Gratis Grafica Vettoriale E Disegno Modelli

Illustrazione Vettoriale Di Strumenti Musicali Fisarmonica Scarica Immagini Vettoriali Gratis Grafica Vettoriale E Disegno Modelli

Tartakut Enrico Cavalieri Alla Fisarmonica Disegno Di Facebook

Tartakut Enrico Cavalieri Alla Fisarmonica Disegno Di Facebook

Disegno Fisarmonica Archives 300dpi Studio Grafica Stampa Web Spoleto Rimini

Disegno Fisarmonica Archives 300dpi Studio Grafica Stampa Web Spoleto Rimini

Https Encrypted Tbn0 Gstatic Com Images Q Tbn And9gcswvielmqzol7q W8mfsecd9081ztvyjqz0bwrvwbk Usqp Cau

Https Encrypted Tbn0 Gstatic Com Images Q Tbn And9gcswvielmqzol7q W8mfsecd9081ztvyjqz0bwrvwbk Usqp Cau

Disegno Fisarmonica Colorato Da Utente Non Registrato Il 24 Di Aprile Del 2010

Disegno Fisarmonica Colorato Da Utente Non Registrato Il 24 Di Aprile Del 2010

Modello Di Disegno Grafico A Fisarmonica Isolato Da Vettore Immagine E Vettoriale Alamy

Modello Di Disegno Grafico A Fisarmonica Isolato Da Vettore Immagine E Vettoriale Alamy

Vettore Vecchio Disegno Uomo Fisarmonica Canstock

Vettore Vecchio Disegno Uomo Fisarmonica Canstock

Disegno Di Una Fisarmonica Player Immagini Vettoriali Stock E Altre Immagini Di 2015 Istock

Disegno Di Una Fisarmonica Player Immagini Vettoriali Stock E Altre Immagini Di 2015 Istock

Blu Fisarmonica Clip Art K30109449 Fotosearch

Blu Fisarmonica Clip Art K30109449 Fotosearch

Premio Internazionale Della Fisarmonica Di Castelfidardo Drawing Contest Vota Il Tuo Disegno Preferito

Premio Internazionale Della Fisarmonica Di Castelfidardo Drawing Contest Vota Il Tuo Disegno Preferito

Fisarmonica Rossa Illustrazione Vettoriale Illustrazione Di Paese 59065627

Fisarmonica Rossa Illustrazione Vettoriale Illustrazione Di Paese 59065627

La Fisarmonica Di Leonardo In Concerto Dal Rinascimento Ai Nostri Giorni Il Pais Gente Della Nostra Terra

La Fisarmonica Di Leonardo In Concerto Dal Rinascimento Ai Nostri Giorni Il Pais Gente Della Nostra Terra

Sorridenti Musicista Di Suonare La Fisarmonica Uno Strumento Musicale L Inchiostro Bianco E Nero Disegno Foto Stock Alamy

Sorridenti Musicista Di Suonare La Fisarmonica Uno Strumento Musicale L Inchiostro Bianco E Nero Disegno Foto Stock Alamy

Disegni Da Colorare Categoria Strumenti Musicali Immagine Fisarmonica Infanziaweb

Disegni Da Colorare Categoria Strumenti Musicali Immagine Fisarmonica Infanziaweb

Musica Fisarmonica Disegnare Elemento 10 Illustration Fisarmonica Eps Elemento Vettore Disegno Musica Canstock

Musica Fisarmonica Disegnare Elemento 10 Illustration Fisarmonica Eps Elemento Vettore Disegno Musica Canstock

Grafica Creazioni Artistiche Di Claudia Wild

Grafica Creazioni Artistiche Di Claudia Wild

Fisarmonica Kit

Fisarmonica Kit

Castelfidardo Pif2019 Matilde La Piccola Vincitrice Del Concorso Di Disegno

Castelfidardo Pif2019 Matilde La Piccola Vincitrice Del Concorso Di Disegno

Quadro Su Tela Donna Con Una Fisarmonica Disegni A Mano Pixers Viviamo Per Il Cambiamento

Quadro Su Tela Donna Con Una Fisarmonica Disegni A Mano Pixers Viviamo Per Il Cambiamento

Rosso Fisarmonica Clip Art K30109448 Fotosearch

Rosso Fisarmonica Clip Art K30109448 Fotosearch

Disegno Fisarmonica Colorato Da Utente Non Registrato Il 17 Di Aprile Del 2019

Disegno Fisarmonica Colorato Da Utente Non Registrato Il 17 Di Aprile Del 2019

Jimi Trotter Antonello Messina Fisarmonicista

Jimi Trotter Antonello Messina Fisarmonicista

Disegno Originale Progetto Fisarmonica Scandalli Air Emanuele Nonni 300dpi Studio Grafica Stampa Web Spoleto Rimini

Disegno Originale Progetto Fisarmonica Scandalli Air Emanuele Nonni 300dpi Studio Grafica Stampa Web Spoleto Rimini

Disegni Da Colorare Per Bambini Midisegni It

Disegni Da Colorare Per Bambini Midisegni It

Disegno Dell Icona Isolato Strumento Fisarmonica Vettore Premium

Disegno Dell Icona Isolato Strumento Fisarmonica Vettore Premium

Fisarmonica Nera Isolata Del Profilo Illustrazione Vettoriale Illustrazione Di Tastiera Elemento 118602313

Fisarmonica Nera Isolata Del Profilo Illustrazione Vettoriale Illustrazione Di Tastiera Elemento 118602313

51 Disegni Oggetti Da Colorare

51 Disegni Oggetti Da Colorare

Fisarmonica Instagram Posts Photos And Videos Picuki Com

Fisarmonica Instagram Posts Photos And Videos Picuki Com

Https Encrypted Tbn0 Gstatic Com Images Q Tbn And9gct5xg4cwqzc3plfyeknxzinxs2alrukz060lfattoeaqbc0aywa Usqp Cau

Https Encrypted Tbn0 Gstatic Com Images Q Tbn And9gct5xg4cwqzc3plfyeknxzinxs2alrukz060lfattoeaqbc0aywa Usqp Cau

Teknofisa Fisarmoniche A Vercelli News

Teknofisa Fisarmoniche A Vercelli News

Fisarmonica Acordeon Fisarmonica Jpg 500 420 Disegni Musica Immagini Album

Fisarmonica Acordeon Fisarmonica Jpg 500 420 Disegni Musica Immagini Album

Illustrazione Vettoriale Dello Schizzo Della Fisarmonica Elemento Di Disegno Isolato Immagine E Vettoriale Alamy

Illustrazione Vettoriale Dello Schizzo Della Fisarmonica Elemento Di Disegno Isolato Immagine E Vettoriale Alamy

Vettore Schizzo Fisarmonica Strumento Musicale Clip Art K48315716 Fotosearch

Vettore Schizzo Fisarmonica Strumento Musicale Clip Art K48315716 Fotosearch

Musicale Insturment Vettore Fisarmonica Icona Schizzo Fascia Musica Disegno Icon Jazz Vettore Isolato Schizzo Canstock

Musicale Insturment Vettore Fisarmonica Icona Schizzo Fascia Musica Disegno Icon Jazz Vettore Isolato Schizzo Canstock

Galassi Bellows Mantice Fisarmonica Mantice Fisarmonica Disegno Catenella

Galassi Bellows Mantice Fisarmonica Mantice Fisarmonica Disegno Catenella

Disegno Fisarmonica Colorato Da Utente Non Registrato Il 08 Di Novembre Del 2010

Disegno Fisarmonica Colorato Da Utente Non Registrato Il 08 Di Novembre Del 2010

Disegno Della Fisarmonica Del Fumetto Donna Del Fumetto Che Gioca Fisarmonica Fisarmonica Fumetto Di Pallone Png Pngegg

Disegno Della Fisarmonica Del Fumetto Donna Del Fumetto Che Gioca Fisarmonica Fisarmonica Fumetto Di Pallone Png Pngegg

2019 Nuovo Disegno Fisarmonica Carta Kraft Foto Di Nozze Regalo Di Compleanno Scrapbook Album Di Foto Con Chiusura Buy Nuovo Disegno Fisarmonica Album Di Foto Carta Kraft Album Product On Alibaba Com

2019 Nuovo Disegno Fisarmonica Carta Kraft Foto Di Nozze Regalo Di Compleanno Scrapbook Album Di Foto Con Chiusura Buy Nuovo Disegno Fisarmonica Album Di Foto Carta Kraft Album Product On Alibaba Com

Fisarmonica Wikipedia

Fisarmonica Wikipedia

Disegni Da Colorare Categoria Strumenti Musicali Immagine Fisarmonica Infanziaweb

Disegni Da Colorare Categoria Strumenti Musicali Immagine Fisarmonica Infanziaweb

Teknofisa Fisarmoniche A Vercelli Accessori E Personalizzazioni Personalizzazioni Mantice

Teknofisa Fisarmoniche A Vercelli Accessori E Personalizzazioni Personalizzazioni Mantice

Immagini Fisarmonica Vettori Gratuiti Foto Stock E Psd

Immagini Fisarmonica Vettori Gratuiti Foto Stock E Psd

Strumento Musicale A Fisarmonica A Canna Libera Per L Aerofono A Fisarmonica Fisarmonicista Scaricare Png Disegno Png Trasparente Fisarmonica Png Scaricare

Strumento Musicale A Fisarmonica A Canna Libera Per L Aerofono A Fisarmonica Fisarmonicista Scaricare Png Disegno Png Trasparente Fisarmonica Png Scaricare

Disegno Della Novita Fisarmonica Materiale Del Silicone Usb Flash Drive 4 Gb 8 Gb 16 Gb 32 Gb Pen Drive Del Pollice Del Fumetto Drive Chiave Dell Automobile Pendrive Disk 32gb Pen Drive Usb Flash

Disegno Della Novita Fisarmonica Materiale Del Silicone Usb Flash Drive 4 Gb 8 Gb 16 Gb 32 Gb Pen Drive Del Pollice Del Fumetto Drive Chiave Dell Automobile Pendrive Disk 32gb Pen Drive Usb Flash

Un Musicista Della Via Gioca La Fisarmonica Illustrazione Vettoriale Illustrazione Di People Grafico 107984690

Un Musicista Della Via Gioca La Fisarmonica Illustrazione Vettoriale Illustrazione Di People Grafico 107984690

Disegno A Mano Fisarmonica Scandalli Air Design Emanuele Nonni 300dpi Studio Grafica Stampa Web Spoleto Rimini

Disegno A Mano Fisarmonica Scandalli Air Design Emanuele Nonni 300dpi Studio Grafica Stampa Web Spoleto Rimini

Nicola Zamboni Disegno A Pastello E Carboncino Ebay

Nicola Zamboni Disegno A Pastello E Carboncino Ebay

Fisarmonica Immagini Vettoriali Stock E Altre Immagini Di Antico Vecchio Stile Istock

Fisarmonica Immagini Vettoriali Stock E Altre Immagini Di Antico Vecchio Stile Istock

Download Dibujo De Acordeon A Piano Para Colorear Disegni Da Colorare Fisarmonica Png Image With No Background Pngkey Com

Download Dibujo De Acordeon A Piano Para Colorear Disegni Da Colorare Fisarmonica Png Image With No Background Pngkey Com

Premio Internazionale Della Fisarmonica Di Castelfidardo Drawing Contest Vota Il Tuo Disegno Preferito

Premio Internazionale Della Fisarmonica Di Castelfidardo Drawing Contest Vota Il Tuo Disegno Preferito

Disegno Fisarmonica Ringhiere Per Ringhiera Del Balcone Cavo Ringhiere Per Mazzi Buy Common Rail Iniettori Per Toyota Hiace Tetto Deck Ringhiera Ringhiere Di Disegno Per Balcone Product On Alibaba Com

Disegno Fisarmonica Ringhiere Per Ringhiera Del Balcone Cavo Ringhiere Per Mazzi Buy Common Rail Iniettori Per Toyota Hiace Tetto Deck Ringhiera Ringhiere Di Disegno Per Balcone Product On Alibaba Com

Accordion Vector Accordion Piano Accordion Music Illustration

Accordion Vector Accordion Piano Accordion Music Illustration

Source : pinterest.com